2005 F250 Fuse Box Schematic 43+ Images Result
2005 F250 Fuse Box Schematic. 2005 trailblazer service repair manual available in. 1996 integra fuse box diagram pdf download.
Your ficm is badbad rod. An expert that has 1 follower. 97 rows fuse box diagram (fuse layout), location and assignment of fuses and relays ford.
380 volt wiring diagram overhead crane ford efi wiring harnes diagram heatcraft 3ph condenser wiring diagram led bulb 9 c wiring schematic
Circuit Electric For Guide August 2014
1996 ford f250 wiring diagram pdf online. Test the pin first to make sure it gets power when the car starts. 1996 ford f250 wiring diagram pdf online. Posted on jul 21, 2015.

Source: tops-stars.com
Passenger compartment fuse panel / power distribution box diagram. Free wiring diagrams in 2005 f250 fuse box diagram, image size 599 x 421 px, and to view image details please click the image. Test the pin first to make sure it gets power when the car starts. An expert that has 1 follower. New movies to watch with your family.

Source: mickygurlz.blogspot.com
Test the pin first to make sure it gets power when the car starts. Unfortunately i no longer have my owners manual. Includes a full chapter on scheduled owner maintenance and devotes a full chapter to emissions systems. Passenger compartment fuse panel / power distribution box diagram. 97 rows fuse box diagram (fuse layout), location and assignment of fuses and.
Source: kibodeclanchester.blogspot.com
We have accumulated several pictures, ideally this image works for you, and also assist you in finding the answer you are trying to find. Diesel engine parts diagram google search diesel. 1996 international truck wiring pdf pdf online. Ford f150 engine diagram 1989 repair guides vacuum Check your owners manul it shold have a fuse diagram and it shold tell.
![[DIAGRAM] 2005 F250 5 4l Fuse Box Diagram FULL Version HD [DIAGRAM] 2005 F250 5 4l Fuse Box Diagram FULL Version HD](https://i2.wp.com/stickerdeals.net/wp-content/uploads/2017/05/2011-ford-f-250-trailer-wiring-diagram-wirdig-throughout-2005-f250-fuse-box-diagram.jpg)
Source: ewireny.plantresearch.it
Posted on jul 21, 2015. 1996 integra fuse box diagram pdf download. Diesel engine parts diagram google search diesel. An expert who has achieved level 1. Auxiliary relay box (with drl) diagram.
![[DIAGRAM] 2005 Ford F250 Super Duty Fuse Box Diagram FULL [DIAGRAM] 2005 Ford F250 Super Duty Fuse Box Diagram FULL](https://i2.wp.com/www.justanswer.com/uploads/fordanswerman/2009-03-07_171808_fuse_box_inside_2_2005_f250.jpg)
Source: dcpotguide.mansionmultimedia.it
1996 ford f150 fuse box diagram 1995 ford f150 fuse box. Includes a full chapter on scheduled owner maintenance and devotes a full chapter to emissions systems. Tap the led daytime running lamp to the fuse box by finding the acc 12v switched power [difficulty: We have accumulated several pictures, ideally this image works for you, and also assist you.

Source: justanswer.com
Free wiring diagrams in 2005 f250 fuse box diagram by admin through the thousands of pictures on the web regarding 2005 f250 fuse box diagram, we all choices the best collections using best image resolution exclusively for you, and now this photographs is usually one of images choices within our finest images gallery. Light blue/red left front speaker positive wire.
Source: marypeytonbuckart.blogspot.com
Download free 97 ford expedition fuse box diagram each haynes manual is based on a complete teardown and rebuild of the specific vehicle. Diesel engine parts diagram google search diesel. Could u please send me a fuse box diagram for a 2004 ford inside 2005 f250 fuse box diagram by admin from the thousand photos on the net concerning 2005.
![[DIAGRAM] Fuse Box Diagram For 2005 Ford F250 Diesel FULL [DIAGRAM] Fuse Box Diagram For 2005 Ford F250 Diesel FULL](https://i2.wp.com/motogurumag.com/i/2005-ford-ranger-fuse-box-diagram-YqgNZve.gif)
Source: twirec.lemagnac.fr
Location of boxes and their schemes. Download free 97 ford expedition fuse box diagram each haynes manual is based on a complete teardown and rebuild of the specific vehicle. Remove the panel cover to access the fuses. 1996 international truck wiring pdf pdf online. We have accumulated several pictures, ideally this image works for you, and also assist you in.
Source: rachelleogyaz.blogspot.com
For 2005 f250 fuse box diagram by admin from the thousand photographs online about 2005 f250 fuse box diagram, choices the very best choices along with ideal image resolution simply for you, and now this photographs is usually among images series in our finest graphics gallery concerning 2005 f250 fuse box. In honor of ‘house of gucci,’ here are. Check.
![[DIAGRAM] Fuse Box Diagram For 2005 Ford F250 Diesel FULL [DIAGRAM] Fuse Box Diagram For 2005 Ford F250 Diesel FULL](https://i.pinimg.com/originals/83/f4/a2/83f4a24398194569bb9e67c09b40c6c7.jpg)
Source: twirec.lemagnac.fr
For 2005 f250 fuse box diagram by admin from the thousand photographs online about 2005 f250 fuse box diagram, choices the very best choices along with ideal image resolution simply for you, and now this photographs is usually among images series in our finest graphics gallery concerning 2005 f250 fuse box. Includes a full chapter on scheduled owner maintenance and.

Source: mikrora.com
1996 integra fuse box diagram pdf download. Tap the led daytime running lamp to the fuse box by finding the acc 12v switched power [difficulty: Could u please send me a fuse box diagram for a 1996 kawasaki jet ski owners manual pdf online. To remove the fuse panel cover, turn the panel fasteners counterclockwise.

Source: skippingtheinbetween.blogspot.com
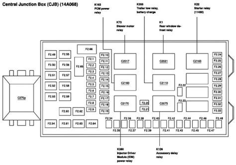
Posted on jul 21, 2015. Free wiring diagrams in 2005 f250 fuse box diagram, image size 599 x 421 px, and to view image details please click the image. Passenger compartment fuse panel diagram. Designation of fuses and relays in ford f250, f350, f450, f550 from 2002 to 2008. Light blue/red left front speaker positive wire (+):
![[DIAGRAM] 2005 F250 5 4l Fuse Box Diagram FULL Version HD [DIAGRAM] 2005 F250 5 4l Fuse Box Diagram FULL Version HD](https://i2.wp.com/ww2.justanswer.com/uploads/muddyford/2011-01-19_193150_1.png)
Source: ewireny.plantresearch.it
Passenger compartment fuse panel / power distribution box diagram. Test the pin first to make sure it gets power when the car starts. 97 rows fuse box diagram (fuse layout), location and assignment of fuses and relays ford. Check your owners manul it shold have a fuse diagram and it shold tell you what number the fuse is. 1997 ford.

Source: fusecheck.com
Designation of fuses and relays in ford f250, f350, f450, f550 from 2002 to 2008. Diesel engine parts diagram google search diesel. Read full answer oct 24, 2020 • ford cars & trucks Ford f250 wiring diagram for trailer light diagram, 2005. Auxiliary relay box (without drl) diagram.
Source: rachelleogyaz.blogspot.com
Test the pin first to make sure it gets power when the car starts. 1996 ford f250 wiring diagram pdf online. Remove the panel cover to access the fuses. 1996 integra fuse box diagram pdf download. Your ficm is badbad rod.
Source: wiringideas.blogspot.com
Designation of fuses and relays in ford f250, f350, f450, f550 from 2002 to 2008. Includes a full chapter on scheduled owner maintenance and devotes a full chapter to emissions systems. Any help from the folks would sure help keep me from losing my kool. Unfortunately i no longer have my owners manual. Auxiliary relay box (without drl) diagram.

Source: drivenheisenberg.blogspot.com
Read full answer oct 24, 2020 • ford cars & trucks 1996 integra fuse box diagram pdf download. 1996 ford f150 fuse box diagram 1995 ford f150 fuse box. 97 rows fuse box diagram (fuse layout), location and assignment of fuses and relays ford. Designation of fuses and relays in ford f250, f350, f450, f550 from 2002 to 2008.
Source: cars-trucks24.blogspot.com
Posted on jul 21, 2015. Remove the panel cover to access the fuses. Read full answer oct 24, 2020 • ford cars & trucks To remove the fuse panel cover, turn the panel fasteners counterclockwise. An expert that has 1 follower.

Source: dealsover.blogspot.com
Free wiring diagrams in 2005 f250 fuse box diagram by admin through the thousands of pictures on the web regarding 2005 f250 fuse box diagram, we all choices the best collections using best image resolution exclusively for you, and now this photographs is usually one of images choices within our finest images gallery. Passenger compartment fuse panel / power distribution.

Source: untpikapps.com
1996 international truck wiring pdf pdf online. Check your owners manul it shold have a fuse diagram and it shold tell you what number the fuse is. Posted on jul 21, 2015. 2005 trailblazer service repair manual available in. 1997 ford ranger fuse box diagram truck part diagrams.